
德州银行再次启动房产处置。
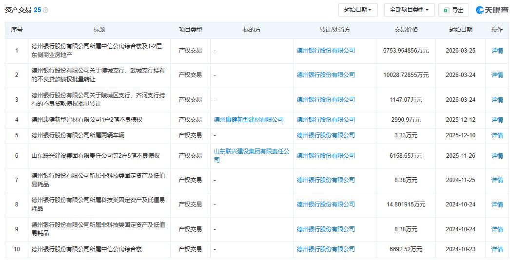
日前,山东产权交易中心显示,德州银行股份有限公司(简称“德州银行”)挂牌出售旗下中信公寓综合楼及1-2层东侧商业房地产,底价约为6753.95万元,挂牌截止时间为4月22日。截至4月20日,引来1197次围观。
这是该资产第四次出现在公开转让平台。历史挂牌记录显示,2021年德州银行首次挂牌该综合楼,底价为7323.77万元;2024年再次挂牌,底价约6692.52万元;2026年本轮挂牌在资产范围扩大的情况下,价格仍低于首次挂牌水平。
事实上,近年来,德州银行除了出售房产外,不良债权等资产也在出售。而在频繁出售各种资产的背后,德州银行正面临营收下滑、净利润腰斩的局面。据相关数据,2024年,德州银行的信用减值损失超过4亿元。

来源:山东产权交易中心官网
多地房产、上亿不良债权被处置
山东产权交易中心显示,德州银行挂牌转让所属中信公寓综合楼及1-2层东侧商业房地产,转让底价为6753.95万元,保证金为2026万元。
该项目对应两项不动产权证,合计建筑面积10416.34平方米,评估基准日为2025年6月30日。公开信息显示,该项目要求整体受让。
据了解,该房产并不是第一次被转让,根据山东产权交易中心,德州银行所属德州市东风东路53号中信公寓综合楼分别于2021-09-13至2022-01-07、2022-11-16至2023-03-14、2024-10-23至2025-02-18挂牌转让,转让底价分别为7323.77万元、7328.29万元、6692.52万元。
与第一次转让相比,此次挂牌转让的底价下降约569.82万元。尽管底价再次下调,值得注意的是,打包转让的资产却有所增加。据了解,德州银行前三次转让仅是中信公寓综合楼,建筑面积为9269.42㎡。而第四次挂牌的资产除了中信公寓综合楼外,还包含1-2层东侧商业房地产,标的房屋建筑面积共计1.04万㎡。且此次资产转让为整体受让、不可拆分。
其实,除了中信公寓综合楼房产外,德州银行还曾转让其他房产。
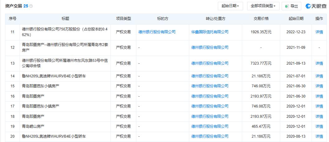
山东产权交易中心显示,2021-03-19至2021-04-16,德州银行挂牌转让所属青岛市2套房产,两层独栋,精裝帯院,位于青岛即墨温泉镇府东一路9号267号,建筑面积为1091.47㎡,套内建筑面积1074.38㎡,转让底价为746.08万元,保证金为200万元。
不仅房产,德州银行还打包出售不良贷款债权等资产。天眼查显示,德州银行上月批量转让德城支行、武城支行持有的不良贷款债权和陵城区支行、齐河支行持有的不良贷款债权,交易价格分别为1.00亿元、1147.07万元。



来源:天眼查
净利润“腰斩”,2024年不良贷款率成谜
频繁出售资产的背后,德州银行近年来的业绩也不甚理想。
根据德州银行官网,最新的年报披露截至2024年,此后未再更新任何财务报告。此外,德州银行要求查阅年报的用户填写姓名、工作单位、手机号,并通过图形验证,设置了查阅门槛。
数据显示,2024年,德州银行营业收入为13.29亿元,同比下降1.25%,净利润为1.24亿元,同比下降50.99%,营收和净利润双降。
利润腰斩或与其信用减值损失增加有关。数据显示,德州银行的信用减值损失从2023年的2.31亿元骤增至4.36亿元,增幅高达88.74%。
信用减值损失增加或与背后不良贷款累计有关。有意思的是,德州银行在2023年还披露不良贷款率、拨备覆盖率、不良贷款余额、逾期贷款等数据,2023年的不良贷款率为2.44%。
然而到了2024年,这些关键数据却不再公开,仅能查看不良贷款的行业分布。根据财报,2024年,在德州银行的不良贷款中,制造业占比高达45.83%,批发和零售业占比20.64%,两者合计占全部不良贷款的三分之二以上。
董事长岗位空缺近20个月,因违规多次被罚
除了经营承压之外,德州银行近年的治理与合规风险也不容忽视。
作为国有控股企业,德州银行曾一度出现董事长职位空缺的情况。2023年,德州银行前董事长牛洪春卸任,行长赵鸣翠代为履行董事长职责长达近20个月。直到2025年7月,亓金波才正式任命为德州银行的党委书记,同年8月,正式获批董事长任职资格。
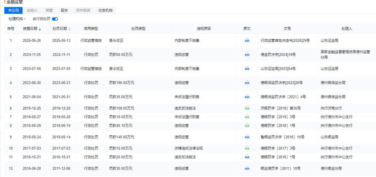
因代履职严重超期,该行被罚款50万元。2024年11月,国家金融监督管理总局山东监管局发布行政处罚决定书,德州银行因存在代为履职人员超期履职,严重违反审慎经营规则的主要违法事实,被罚款50万元。
实际上,德州银行近年多次因内控及经营问题被处罚。
2025年5月26日,证监会山东监管局官网公示,德州银行因存在四种违法违规行为被山东监管局责令改正。存在的主要问题包括:部分未取得基金从业资格的人员从事基金销售活动,负责对基金销售业务经营运作情况进行审查、监督和检查的合规风控人员未取得基金从业资格,未设立基金产品准入委员会或专门小组对销售产品准入实行集中统一管理,未将基金销售保有规模、投资人长期投资收益等纳入分支机构和基金销售人员考核评价指标体系。
2023年,中国银行保险监督管理委员会山东监管局官方网站公开一则行政处罚信息,德州银行严重违反审慎经营规则,被罚款195万元。

来源:企业预警通
亓金波上任后,带领德州银行干出了不错的成绩。数据显示,2025年前11个月,德州银行资产规模实现百亿级增量;制造业贷款年内新增20亿元;科技创新贷款较2020年末增长79%;贷款增速全市第一。
不过,在盈利下滑、风险成本抬升的背景下,亓金波履新后将如何调整经营策略、推进风险化解并持续改善经营表现,仍待2025年业绩表现及后续公开信息进一步验证。
(来源:北京时间财经)





扫一扫分享本页

